1. Do not share user accounts! Any account that is shared by another person will be blocked and closed. This means: we will close not only the account that is shared, but also the main account of the user who uses another person's account. We have the ability to detect account sharing, so please do not try to cheat the system. This action will take place on 04/18/2023. Read all forum rules.
    Dismiss Notice
  2. For downloading SimTools plugins you need a Download Package. Get it with virtual coins that you receive for forum activity or Buy Download Package - We have a zero Spam tolerance so read our forum rules first.

    Buy Now a Download Plan!
  3. Do not try to cheat our system and do not post an unnecessary amount of useless posts only to earn credits here. We have a zero spam tolerance policy and this will cause a ban of your user account. Otherwise we wish you a pleasant stay here! Read the forum rules
  4. We have a few rules which you need to read and accept before posting anything here! Following these rules will keep the forum clean and your stay pleasant. Do not follow these rules can lead to permanent exclusion from this website: Read the forum rules.
    Are you a company? Read our company rules

Peter's Converted 9D Vr Motion Platform

Discussion in 'Commercial Simulators and Peripherie' started by peter stolmeier, Oct 13, 2024.

  1. peter stolmeier

    peter stolmeier Member

    Joined:
    Sep 29, 2020
    Messages:
    95
    Balance:
    558Coins
    Ratings:
    +54 / 0 / -0
    My Motion Simulator:
    3DOF
    Update:
    It seems fitting to front load the thread with the "final" result.

    20250218_230512338.jpg 20250204_192922584.jpg

    Gi_5CVDXgAALZGW.jpg Gi_5CVFXcAAzlrx.jpg

    The Simstarr is in a state of constant upgrades and I'm STILL working on explaining how I got here, but I want to make it clear that it's possible for anyone to follow suit if you find yourself in position of one of these.

    OG post follows:


    A few months ago I traded a fancy DeLorean model for TWO 9Dvr motion platforms.

    GZZwup2XQAAepKg.png

    It took a little work but I've managed to store them both in my garage, there's just enough space to store one, work on one, and park, the electric car.

    20240624_171504.jpg

    The one we're going to focus on today was already converted into a personal sim by someone else, (I'll never know who.) and they did an amazing job.

    20240624_122748.jpg

    I stripped it down to inspect the parts. Most of it is used for the original VR ride stuff, the only thing that's actually needed are the four actuators and their power. I plan to remove the non-needed things and stow my updated modern pcs in this compartment later.

    GZZwbWiWgAAEky6.png GZZwZ0RWQAADtZo.png

    Here's how lucky I am, there was already a configured Thanos AMC inside.

    GZZxUhVXcAAnUwe.png

    The previous owner had it in a sturdy cardboard box, but since I have a 3D printer I made a new case before I even fully understood the device, haha.

    GZZxkhbXoAAL-no.png

    I thought it was going to be a lot harder to understand and reverse engineer but the learning curve was almost non-existent. After wiring it for the 240v system the EV charger uses I was operating it right away.



    It's a simple, durable, and downright elegant machine. I really like it!

    I didn't know how fast I would get the hang of it, so I hadn't yet ordered a cockpit. I've got a Maranda aluminum extruded one on the way now, that I should have assembled in a day or two.

    61FtRp4Sq1L._SL1500_.jpg

    The plan is to assemble everything back together and actually use it, getting a feel for how best to set it up. Then strip it back down for an aesthetic refit of new paint, embedding the pc, lights, ect so I can run some twitch games in my already green garage.

    This system has four actuators, three linear and one for full 360 yaw. The limner actuators work but the 360 yaw is not yet set up by the previous owner. That's something I plan to fix and hope you guys will help me.

    The "9Dvr experience with 3 Egg chairs" is not a rare platform so it's my intent to help others get it to work like this, please feel free to ask any questions.

    Attached Files:

    • Like Like x 4
    Last edited: Feb 22, 2025
  2. peter stolmeier

    peter stolmeier Member

    Joined:
    Sep 29, 2020
    Messages:
    95
    Balance:
    558Coins
    Ratings:
    +54 / 0 / -0
    My Motion Simulator:
    3DOF
    My extruded aluminum rig arrived and I was able to assemble it yesterday.

    [​IMG]

    Even though the motion platform is ready to roll, I wasn't expecting it to be so easy and was not prepared for my own success haha.

    I want to make sure this system is dialed in before I mount it so I'm going to spend tonight and maybe tomorrow actually playing elite dangerous while it's safely on the ground.
    • Like Like x 3
  3. peter stolmeier

    peter stolmeier Member

    Joined:
    Sep 29, 2020
    Messages:
    95
    Balance:
    558Coins
    Ratings:
    +54 / 0 / -0
    My Motion Simulator:
    3DOF
    I've got the motion platform back together and ran a longer test of it.



    I am very close to merging the simrig ridged frame and this platform. Another day, maybe two and I'll be flying a basic setup.

    I decided early on to treat this machine as I would a car. It can be dangerous if I don't give it the respect of a 1.5 ton of moving steel so to that end I want to have multiple ways to shut it down.

    The first is built into the machine, it sits on the outside and kills power to the motors.

    Estop 1.jpg

    It uses a magnetic fuse that's common in china but not really seen in the US, it's pretty neat.

    61OMga6zFPL._SL1300_.jpg

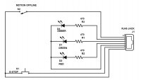
    The next system is the two forms of shutdown offered by the Thanos AMC. I used the schematics from departed reality to wired up my own.

    Thanos AMC Estop schematic .jpg

    The cool part of this wiring is it's set to normally closed so if there is any interruption to the wiring the platform will shut down. This includes if the Ethernet port gets disconnected for any reason. You MUST have this safety feature to use this ride.

    Instead of the standard push button I used a flip cover switch making it so I can slap it down to disengage but must do an double action to start.

    I've tweaked this a little now that i's up and running, the safest thing for me to do is to have E-shut off in the down position and covered and the parking mode in up position with the slap down. The Estop is still in NC just with the switch upside down.

    I did this way because this machine weights hundreds of pounds and it is safer to have it come to gentle stop and the power cut. If power cut is needed that is now a double action.

    Thanos AMC Estop custom pannel.jpg

    This panel is from thingiverse and has 15 ports that I've covered with carbon fiber vinyl. I'll add more functions as well as ascetics labels to this later, but this is enough for it to get running.

    I think it would be neat to have a real key to start all this up, I may add that at some point too.
    • Like Like x 2
    Last edited: Oct 18, 2024
  4. peter stolmeier

    peter stolmeier Member

    Joined:
    Sep 29, 2020
    Messages:
    95
    Balance:
    558Coins
    Ratings:
    +54 / 0 / -0
    My Motion Simulator:
    3DOF
    it's all together and running!



    I still have some smoothing to do but it's flightworthy!


    AP1GczO-YFpUiZsxInwzABYaWogZIKwsAt3z9ahTjq580uqlVUddtX5fJ3uSFQw1329-h997-s-no-gm.png AP1GczPkmyEaXMNYBE7XP2tznK7Ltpy-1FrUilAeHq0yIT-CK-C7FsPke5GsFww1329-h997-s-no-gm.png AP1GczPRTMdTReWxg9vqemJw6d2mrXMbjpoP9WSeluEeTiXeRCne9ycVgChH_ww1329-h997-s-no-gm.png

    All that's left to do now is the clean up.

    20241017_230641.jpg 20241017_230726.jpg


    Since these photos I've hidden the cables with some clever 3D printed parts.

    I'm still working on the software, but I'm going to come back soon to figure out how to get 360 yaw working.
    • Like Like x 3
  5. peter stolmeier

    peter stolmeier Member

    Joined:
    Sep 29, 2020
    Messages:
    95
    Balance:
    558Coins
    Ratings:
    +54 / 0 / -0
    My Motion Simulator:
    3DOF
    I've got a confession to make. So far I have not been using Simtools but rather Sim Racing Studio. It has a drop down for three actuators and I was able to get it online quickly.

    But I do have a simtools license and the plan was always to switch to it because, as far as I can tell, SRS does not allow an additional motor for yaw and this system has that ability built in.

    So today I begin my journey to implement that, starting with just the three actuators SRS is using, and adding yaw when I can build the cable I need. I have to admit even with the guide it's a little daunting to know what settings to use.

    I'm hoping maybe there is another jump start you guys might provide. I don't know what I don't know so it's hard to search for such things. Now that you've seen the machine in action, can anyone recommend what the base settings in simtools should be?
  6. noorbeast

    noorbeast VR Tassie Devil Staff Member Moderator Race Director

    Joined:
    Jul 13, 2014
    Messages:
    22,053
    Occupation:
    Innovative tech specialist for NGOs
    Location:
    Tasmania, Australia
    Balance:
    153,914Coins
    Ratings:
    +11,156 / 57 / -2
    My Motion Simulator:
    3DOF, DC motor, JRK
    Given SimTools v3 is at the tail end of Beta testing I would suggest using that, your existing SimTools license will work with it.

    Grab the v3 Manual and Quick Start guide: https://www.xsimulator.net/community/faq/simtools-v3.401/

    Please be aware there is a dedicated v3 Beta thread, it is long but informative: https://www.xsimulator.net/community/threads/simtools-v3-public-beta.17329/

    With respect to refining a motion profile while while written for v2 the tuning tips in the FAQs are still valid: https://www.xsimulator.net/community/faq/steps-to-create-a-motion-profile.228/
  7. peter stolmeier

    peter stolmeier Member

    Joined:
    Sep 29, 2020
    Messages:
    95
    Balance:
    558Coins
    Ratings:
    +54 / 0 / -0
    My Motion Simulator:
    3DOF
    thanks! I've done the first two steps, got v3 and read the guide. I'll go to the forum and read there. My question is so basic I don't know how to ask it. "how do I set up two and the front and one in the back?" But I bet I'll find it there.
  8. noorbeast

    noorbeast VR Tassie Devil Staff Member Moderator Race Director

    Joined:
    Jul 13, 2014
    Messages:
    22,053
    Occupation:
    Innovative tech specialist for NGOs
    Location:
    Tasmania, Australia
    Balance:
    153,914Coins
    Ratings:
    +11,156 / 57 / -2
    My Motion Simulator:
    3DOF, DC motor, JRK
    The axis designations are set in the Interface Settings and the axis allocation to particular axis is set in Axis Assignments.

    So think of it this way, the Interface Settings tell SimTools how to communicate with each actuator, and gives them a designation, that designated actuator can then have a percentage of its total travel allocated to different axis in Axis Assignments.
  9. peter stolmeier

    peter stolmeier Member

    Joined:
    Sep 29, 2020
    Messages:
    95
    Balance:
    558Coins
    Ratings:
    +54 / 0 / -0
    My Motion Simulator:
    3DOF
    That sounds really good for getting yaw working. I'll try to switch over in the next few days.
  10. peter stolmeier

    peter stolmeier Member

    Joined:
    Sep 29, 2020
    Messages:
    95
    Balance:
    558Coins
    Ratings:
    +54 / 0 / -0
    My Motion Simulator:
    3DOF
    It took a few days but I've finally gotten the hang of simtools. I'm glad I did because it's noticeably smoother and wider in range now. I'll film another test flight soon to show the difference.

    Now I've got, Roll, Pitch, Surge, and Heave so I'm ready to get Yaw going. This is the only axis the previous owner did not implement so I have a bit of work to do.
    AP1GczO_wKthI98AaqYVZGsPsvaPliZx_eLRO3yttzmMO5kKpkyGw68y6WGGWww1729-h1297-s-no-gm.png

    I'm not sure why he had to rewire the cable to make the Thanos compatible with the existing hardware but it's straightforward enough to replicate a fourth cable.

    That's part is in the mail so I should have an update about it next week.
    • Like Like x 2
  11. peter stolmeier

    peter stolmeier Member

    Joined:
    Sep 29, 2020
    Messages:
    95
    Balance:
    558Coins
    Ratings:
    +54 / 0 / -0
    My Motion Simulator:
    3DOF
    Simtools is working and is nice and smooth!

    • Winner Winner x 2
    • Like Like x 1
  12. peter stolmeier

    peter stolmeier Member

    Joined:
    Sep 29, 2020
    Messages:
    95
    Balance:
    558Coins
    Ratings:
    +54 / 0 / -0
    My Motion Simulator:
    3DOF
    I plan to make Elite Dangerous my main sim for this project. Here are the axis settings I'm using for simtools.

    Screenshot 2024-10-25 211014.png

    I think heave (up and down) is a little jerky when I use thrusters but other than that it's a very smooth ride.

    I'll have to drop the screenshot for it later, but for min max tuning I have everything set to 1.2 and -1.2
  13. peter stolmeier

    peter stolmeier Member

    Joined:
    Sep 29, 2020
    Messages:
    95
    Balance:
    558Coins
    Ratings:
    +54 / 0 / -0
    My Motion Simulator:
    3DOF
    Well I learned several new things at once today!
    GbyIgiEWUA4pje8.png

    • I did not wire the new cable I made properly.
    • This machine is limited via software thanks to previous owner. It could lift way higher than it does, maybe by another foot.
    • What my mistake did wrong is it made up is up and down is also up so parking mode made things worse.
    This was a useful dangerous mistake because now I know a lot more than I did and the equipment wasn't damaged.

    Another valuable thing I learned was my paranoia of kill switches was extremely justified. If I had put in just park mode it would have gone up instead of down past any kind of real world limit, possibly until the hydraulics popped. If I had a power kill switch only on the unit I could have gotten hurt reaching for it. If I had a kill only outside the unit and a pin pops I could get equally hurt.

    I still trust the limits to not scrape the ceiling during play, but now I know that's all on the Thanos and it can go much higher. I may literally raise the ceiling in the garage to get even more motion.
    • Like Like x 2
  14. peter stolmeier

    peter stolmeier Member

    Joined:
    Sep 29, 2020
    Messages:
    95
    Balance:
    558Coins
    Ratings:
    +54 / 0 / -0
    My Motion Simulator:
    3DOF
    Now that I have four cables for my four actuators I'm a little stuck on what to do next.

    I have three linears and one full rational. The 9D has a passthrough so it can spin freely forever. I need to tell Thanos AMC and simtools about it, but I don't know how.

    yaw parts p.jpg yaw parts.jpg

    Searching "adding Yaw" will come up with lots of posts about the company YawVr instead of the relatively rare feature any sim can do but usually doesn't because of the added complexity, so what I need is buried a bit.

    I'm posting here because I'm hoping I can be pointed in the right direction. Is there a more descriptive topic than just "yaw" or even better can someone link me to where it's talked about here or in the manual?

    If I can't find what I'm looking for I'm going to plug it all in and just keep poking it until it works, and that's a little more risky for something this big.
  15. noorbeast

    noorbeast VR Tassie Devil Staff Member Moderator Race Director

    Joined:
    Jul 13, 2014
    Messages:
    22,053
    Occupation:
    Innovative tech specialist for NGOs
    Location:
    Tasmania, Australia
    Balance:
    153,914Coins
    Ratings:
    +11,156 / 57 / -2
    My Motion Simulator:
    3DOF, DC motor, JRK
    SimTools can only move the sim within the range your rig provides.

    For example when using a 360 pot, then 180 each way is what it provides: https://www.xsimulator.net/community/threads/360°-or-200-in-yaw.14418/#post-193802

    So what is the control control hardware range of your rig?
  16. peter stolmeier

    peter stolmeier Member

    Joined:
    Sep 29, 2020
    Messages:
    95
    Balance:
    558Coins
    Ratings:
    +54 / 0 / -0
    My Motion Simulator:
    3DOF
    I'm starting with not even basic level of knowledge so I'm not sure how to phrase the answer. My rig can rotate around like a merry-go-round. It never needs to stop turning because it has a slipring for power passthrough.

    s-l500.png
    So my understanding is it has unlimited hardware range.

    I'm fine with Simtools having a limit, I could see 360 being the max it could do, but I am unsure how to tell the software that this motor rotates while the other three do not.
  17. noorbeast

    noorbeast VR Tassie Devil Staff Member Moderator Race Director

    Joined:
    Jul 13, 2014
    Messages:
    22,053
    Occupation:
    Innovative tech specialist for NGOs
    Location:
    Tasmania, Australia
    Balance:
    153,914Coins
    Ratings:
    +11,156 / 57 / -2
    My Motion Simulator:
    3DOF, DC motor, JRK
    The slipring is great, as its passes connections through, but what measures its rotational position, does it have a Hall Sensor or encoder?
  18. peter stolmeier

    peter stolmeier Member

    Joined:
    Sep 29, 2020
    Messages:
    95
    Balance:
    558Coins
    Ratings:
    +54 / 0 / -0
    My Motion Simulator:
    3DOF
    ah, ok, I get it now and I don't know! I'll start searching for those parts once the sun's up. I've seen that kind of thing inside the scroll wheel of mice, I bet it uses a mechanical system instead of infrared but I should be able to ID it.
  19. peter stolmeier

    peter stolmeier Member

    Joined:
    Sep 29, 2020
    Messages:
    95
    Balance:
    558Coins
    Ratings:
    +54 / 0 / -0
    My Motion Simulator:
    3DOF
    I was not able to find the sensor but while looking for it I realize it doesn't matter. I don't know what kind of sensor the other actuators uses either and they function with a readout of what they are trying to do. So what I need to do is look at this a different way.

    20241110_200903.jpg 20241110_200907.jpg

    The one on the left is the yaw and the number bounces around 100 - 110 but nothing happens. I think if something did happen this would go to zero like the others.

    I currently think I need to get the Thanos AMC hardware to read that as rational instead of linear and possible activate the motor because I should be getting some kind of feed back from it if it was engaged. I'm going to keep pocking around.
  20. peter stolmeier

    peter stolmeier Member

    Joined:
    Sep 29, 2020
    Messages:
    95
    Balance:
    558Coins
    Ratings:
    +54 / 0 / -0
    My Motion Simulator:
    3DOF
    ok, just ran another test. I'm almost positive this should be read as linear and should be working as is but the motor is not engaging. I already had plans to tear down and rebuild this entire system so I'll wait till I have it down to the base before I can figure out what's going on with it. This is how I started the project so I'm still confident I can get it to work.

    The tear down was also always part of it. The rebuild will include painting and vinyl wraps so it looks it's best. I'm going to be making a YouTube series about it, tentatively called "this old sim"
    • Like Like x 2